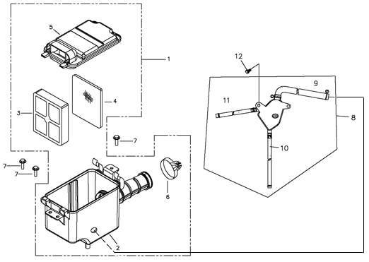
Air Cleaner (EPA) (Adly ATV 90II 4T (CVT))
Change Assembly
| # | Product Name | Req'd | Price: | |
|---|---|---|---|---|
| 1 |
Air Cleaner Ass'Y
17200-175-00B
|
$57.90 | ||
| 2 |
Air Cleaner
17206-175-00B
|
|||
| 3 |
A/C Element Sponge
17205-175-000
|
$19.77 | ||
| 4 |
Cleaner Filter Net
17210-175-000
|
$10.98 | ||
| 5 |
Air Cleaner Cover
17207-175-000
|
$8.79 | ||
| 6 |
Hose Clamp
14110-175-000
|
$5.86 | ||
| 7 |
Hex Bolt, 6*14
92000-06014-10G
|
$1.00 | ||
| 8 |
Oil Catch Ass'Y
17430-175-000
|
$16.47 | ||
| 9 |
XXX
17431-175-000
|
|||
| 10 |
XXX
17432-175-000
|
|||
| 11 |
XXX
17433-175-000
|
|||
| 12 |
Hex Flange Bolt, 6*16
96000-06016-10G
|
$0.67 |

